| CPC A61B 17/12172 (2013.01) [A61B 17/12 (2013.01); A61B 17/12031 (2013.01); A61B 17/12113 (2013.01); A61B 17/12168 (2013.01); A61B 90/39 (2016.02); A61B 2017/00867 (2013.01); A61B 2017/1205 (2013.01); A61B 2017/12063 (2013.01); A61B 2090/3937 (2016.02)] |

| AS A RESULT OF REEXAMINATION, IT HAS BEEN DETERMINED THAT: |
| Claims 10-11 are cancelled. |
| Claims 1 and 4 are determined to be patentable as amended. |
| Claims 2-3, 5-9 and 12-15, dependent on an amended claim, are determined to be patentable. |
| New claim 16 is added and determined to be patentable. |
|
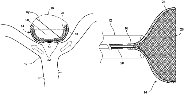
1. A kit for treatment and/or amelioration of an aneurysm; the kit
a. an occlusion device for intrasaccular implantation
(i) a substantially solid marker having a proximal end, and a distal end; and
(ii) a resilient mesh body attached to the distal end of the marker, the body having a delivery shape and a deployed shape capable of conforming to aneurysm walls; wherein the body is a dual layer of the resilient mesh folded over onto itself to create a circumferential fold line around the circumference of the body, and folded over ends of the resilient mesh, and wherein all of the folded over ends of the dual layer of mesh are within the marker [ wherein, in free air, a height of the resilient mesh body is between about 10 percent to 20 percent of a width of the resilient mesh body] ; and
b. a delivery system or detachment system corresponding to the occlusion device.
|
|
4. An implantable device for vessel occlusion consisting of:
(a) a substantially solid marker having a proximal end, and a distal end [ , wherein the marker consists of a rigid member, wherein the proximal end of the substantially solid marker defines a proximal-most end of the implantable device for vessel occlusion] ; and
(b) a resilient mesh body attached to the distal end of the marker, the body having a delivery shape and a deployed shape capable of conforming to vessel walls;
wherein the body is a dual layer of the resilient mesh folded over onto itself to create a circumferential fold line around the circumference of the body, and folded over ends of the resilient mesh, and wherein all of the folded over ends of the dual layer of mesh are within the marker.
|
|
[ 16. The occlusion device of claim 4, wherein the marker is a solid ring.]
|